44 Ton, WYSONG HYDRAULIC CNC PRESS BRAKE, MODEL#MB44, NEW
Reference Number: 11338
Condition: New
"If you need a machine and don't buy it, then you will ultimately find you have paid for it but don't have it." Henry Ford
Full Product Description
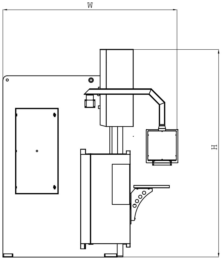
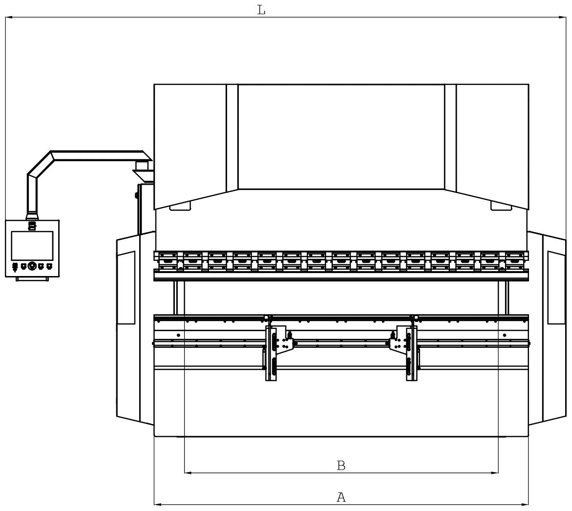
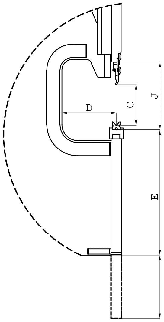
MODEL: MB44 BENDING FORCE: 44-TONS BENDING LENGTH OVERALL(A): 49" DISTANCE BETWEEN COLUMNS(B): 43" STROKE(C): 10" DAYLIGHT(J): 18" THROAT(D): 16" APPROACH SPEED: 354 IPM RETURN SPEED: 283 IPM BEND SPEED: 24 IPM OIL: 25 GAL. MOTOR: 5 HP MACHINE DIMS: 85"L X 82"W X 111"H WEIGHT: 7,716 LBS. STANDARD FEATURES: - Y1, Y2, AND X CNC (3-AXIS) - DELEM TOUCH SCREEN CONTROL - 10" STROKE, 16" THROAT - 0.03mm ACCURACE SERVO MOTORIZED BACKGAUGE - X=29.5" - UNIVERSAL QUICK RELEASE PUNCH HOLDERS - SLIDING FRONT SHEET SUPPORT ARMS - GIVL LINEAR SCALES (ITALY) - HAWE HYDRAULICS (GERMANY) - SEGMENTED PUNCH TOOLS - SEGMENTED 4-WAY DIE - LED ILLUMINATION ON RAM - FIESSLER AKAS-II FRONT LASER SAFETY MANY OPTIONAL FEATURES AVAILABLE: UP TO 6AXIS BACKAGUE. HYDRAULIC CLAMPING. WILA CROWNING. 2" EXT STROKE. 4" EXT THROAT. WIDE BOTTOM TABLE. HYD OIL CHILLER/HEATER. ELECTRICAL CABINET A/C. LASER BENDING LINE. MANUAL OR CNC CROWNING. AUTOMATIC LUBRICATION. CNC SHEET FOLLOWERS. DELEM OR PC CONTROLS PC800.